СоюзПроект бурение

Обвязка станции повышения давления





Для чего нужна станция повышения давления

Станция повышения давления (иначе: станция второго подъема, станция перекачки, станция подкачки, группа насосов по перекачке или подкачке, повысительная станция) необходима для повышения и поддержания давления в системе водоснабжения с заданным расходом. Для того, чтобы справляться с поставленной задачей наиболее эффективно, требуются надежные насосы и контрольно-измерительная аппаратура: блок управления, датчики, реле давления и т.п.

Станция повышения давления может быть установленна после открытых баков на водозаборном узле, а может входить в систему повышения давления без разрыва струи, т.е. работать как станция перекачки (доповышения давления в системе).

Для коммерческого учета воды перекачанной станцией 2-го подъема может быть использован водомерный узел.

Для подбора станции руководствуются её рабочими характеристиками (см. рис. 1), выбирают рабочую точку, т.е. наиболее вероятное условие работы станции повышения давления в системе водоснабжения.
подбор станции повышения давления по рабочим характеристикам в системе водоснабжения
Рисунок 1. Рабочие характеристики станции повышения давления


Установка повышения давления

В качестве установки повышения давления ниже рассматривается станция Грундфос Гидро МПСи (Grundfos Hydro MPC) с блоком управления работы насосов CU351.
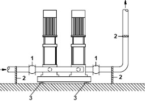
стация второго подъема, станция подкачки в водопроводной системе
чертеж, схема повысительной станции, станции перекачки в водопроводной системе
Рисунок 2 Станция повышения давления


Обозначения принятые на рисунке 2
  • 1 Шкаф управления (1 шт)
  • 2 Фирменная табличка (1 шт)
  • 3 Всасывающий патрубок из нержавеющей стали (1 ШТ)
  • 4 Запорный клапан (2 шт для каждого насоса)
  • 5 Рама-основание из нержавеющей cтали (1 шт)
  • 6 Обратный клапан (1 шт для каждого насоса)
  • 7 Напорный патрубок из нержавеющей стали (1 шт)
  • 8 Датчик давления/манометр (1 шт)
  • 9 Насос (от 2 до 6 шт)


  • Монтаж станции повышения давления

    Стрелки на основании насоса показывают направление потока воды в насосе. Трубы соединяются с патрубками установки повышения давления. Для этого может использоваться любая концевая часть патрубка. На незадействованный конец патрубка нанесите герметик и установите гайку-заглушку. Закройте патрубки с фланцами глухим фланцем с прокладкой.

    Для наиболее оптимальной работы насоса, а также минимизации шума и вибрации, необходимо рассмотреть способы гашения вибрации установки повышения давления. Обороты двигателя и насоса, а также поток в трубах и соединениях, вызывают шумы и вибрацию. Воздействие на окружающую среду субъективно, оно зависит от монтажа и состояния остальных элементов системы.

    Если установки повышения давления смонтированы в многоэтажных домах или первый потребитель в системе находится близко к установке повышения давления, рекомендуется устанавливать компенсирующие стыки во всасывающую и напорную трубы, чтобы вибрация не передавалась по трубопроводу.
    стация второго подъема, схема установки станции перекачки на водопроводе
    компенсирующий стык, резиновые компенсаторы для станции повышения давления
    а) Схема подключения станции
    б) Резиновый компенсатор
    Рис. 3 Монтаж станции


    Обозначения принятые на рисунке 3
  • 1 Компенсирующий стык
  • 2 Опора для трубы
  • 3 Вибрационная опора


  • Компенсирующие стыки устанавливаются для того, чтобы:
  • гасить расширение/сжатие в трубопроводе, вызванное изменением температуры жидкости
  • сокращать механические деформации, вызываемые скачками давления в трубопроводе
  • изолировать механический структурный шум в трубопроводе (только компенсирующие стыки резиновых компенсаторов).


  • Указание: Компенсирующие стыки должны быть установлены не для того, чтобы компенсировать погрешности в трубопроводе, такие как смещение по центру фланцев. Установите компенсирующие стыки на расстоянии минимум в 1 - 1,5 раза больше номинального диаметра фланца от патрубка, как на всасывающей стороне, так и на нагнетательной. Таким образом можно предотвратить возникновение турбулентности в компенсирующих стыках, что приводит к улучшению условий всасывания и минимальной потере давления на стороне повышения давления. При высоких скоростях потока воды (> 5 м/с) рекомендуется устанавливать компенсирующие стыки большего размера в соответствии с трубопроводом.

    Описание станции повышения давления (для типа Hydro MPC ES)

    Готовая к подключению установка повышения давления, изготовленная в соответствии со стандартом DIN 1988/T5.

    В состав установки всегда входит один насос CRE со встроенным частотным преобразователем, остальные насосы - CR нерегулируемыми двигателями.

  • Hydro MPC-ES поддерживает постоянное давление с помощью регулирования частоты вращения вала насоса CRE и каскадного подключения остальных насосов.
  • Производительность установки регулируется посредством регулирования скорости вращения и включения/выключения необходимого количества насосов.
  • Смена насосов автоматическая и зависит от нагрузки, времени и возникновения неисправности.
  • Комплект поставки

  • вертикальные многоступенчатые центробежные насосы, снабжённые частотно-регулируемыми электродвигателями. (валы, рабочие колеса, направляющие аппараты и корпуса насосов изготовлены из нержавеющей стали, основания - из чугуна; уплотнение вала - троцевое, картриджевое, карбид кремния/карбид кремния/EPDM);
  • всасывающий и напорный коллекторы из нержавеющей стали 1.4571;
  • на напорном патрубке каждого насоса устанавливается один обратный клапан из полиоксиметилена;
  • на напорном и всасывающем патрубках каждого насоса устанавливаются по одной задвижке;
  • на напорном коллекторе смонтирован мембранный гидробак (как правило, требуется установка еще одного гидробака в системе ;
  • на напорном коллекторе смонтированы манометр и датчик давления (аналоговый выход 4 - 20 мА);
  • на всасывающем коллекторе смонтирован датчик давления для защиты от "сухого" хода (аналоговый выход 4 - 20 мА);
  • рама-основание из нержавеющей стали 1.4301;
  • шкаф управления Control MPC в стальном шкафу, IP54 (управление и коммутация насосов, диспетчеризация, индикация аварии каждого насоса, внутренняя подсветка для удобства обслуживания);
  • Установка поставляется собранной и готовой к подключению

    Управление работой насосов осуществляется с помощью шкафа Control MPC с контроллером CU351, который обладает следующими функциями:
  • регулирование частоты вращения валов электродвигателей с целью обеспечения требуемых параметров расхода и напора;
  • оптимизация распределения нагрузки между насосами с точки зрения обеспечения максимального К.П.Д.(то есть снижение энергопотребления);
  • обеспечение одинакового времени наработки насосов, входящих в установку;
  • выбор мин. времени между пуском/остановкой,установка очерёдности включения насосов;
  • автоматический кратковременный пуск насосов для поддержания их в рабочем состоянии после долгих простоев;
  • назначение резервного насоса;
  • возможность подключения резервного датчика давления;
  • пуск насосов в ручном режиме;
  • возможность программирования контроллера с помощью клавиш на панели управления;
  • изменение установленного значения с помощью внешних устройств (дистанционное программирование контроллера)
  • цифровые входы для обеспечения следующих режимов:
    - включение/выключение системы;
    - максимальная/минимальная характеристики или определяемый пользователем режимы;
    - ввод и переключение между семью рабочими точками;


  • функции диагностики:
    - минимальный и максимальный пределы текущей величины (отклонения от заданной рабочей точки);
    - давление на входе;
    - защита двигателя;
    - журнал аварий;


  • световая индикация:
    - графический дисплей, 320 x 240 пикселей, с фоновой подсветкой;
    - зелёный световой индикатор для обозначения рабочего состояния и красный световой индикатор для обозначения неисправностей;
    - блок беспотенциальных контактов для передачи сигналов работы/неисправности на пульт диспетчера;
    - лампа-индикатор аварии каждого насоса (применимо для CRE мощностью 0,37...22 кВт и CR, мощностью 3...30 кВт);


  • шина связи Grundfos;
  • Ethernet;
  • связь со SCADA-системами через преобразователь протокола Gateway G100;


  • Часть материалов взята из технического каталога станции Grundfos Hydro MPC


    Условия использования информации с данного сайта
    Работы ведутся только по Московской области и Москве.

    Контактные телефоны специалистов:
    +7 903 175-77-01
    +7 903 261-52-75
    Тел/факс: +7 (496 79) 5-66-01 или +7 (499) 400-58-14(г.Домодедово);
    E-mail (эл. почта): lukyanovich@yandex.ru
    Оформить заявку с сайта


    Soyuzproekt© Ltd. Official site. All rights reserved since 2005
    ООО СоюзПроект© Официальный сайт компании. Основана в 2005 г.